
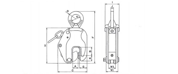
ET型豎吊鋼板起重鉗為鷹牌EAGLE CLAMP品牌產品,煙臺開發區龍海起重工具有限公司銷售,帶有對橫向拉力具有抵抗力的多功能型吊環,用于5倍安全系數,配件齒板可單賣。(鷹牌EAGLE CLAMP鋼板起重鉗)

ET型鷹牌EAGLE CLAMP豎吊鋼板起重鉗特點:
* ET型豎吊鋼板起重鉗適用各種鋼板的垂直起吊,簡易輕量型
*帶有對橫向拉力具有抵抗力的多功能型吊環。
*具有彈簧夾緊機構,自動緊固機構緊固懸掛的兩倍以上的功率。
ET型鷹牌EAGLE CLAMP豎吊鋼板起重鉗適用鋼材
鋼板、型鋼、平鋼、鋼制梁、鋼骨、鐵矢板、鐵鋼構物、鋼制框架等
ET型鷹牌EAGLE CLAMP豎吊鋼板起重鉗用途:
鋼材類縱向起吊、搬運、反轉、旋轉、焊接、組裝、建方、搭載、沖壓加工、彎曲加工
鷹牌EAGLE CLAMP同屬輕量型EK豎吊鋼板起重鉗,屬于大開口型鋼板起重鉗,且具有自動鎖緊裝置,適用于厚板的吊裝。
