

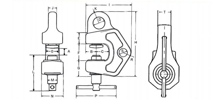
SBB鷹牌EAGLE CLAMP螺旋鎖緊鋼板吊鉗特點:
*全向起吊用螺旋式夾鉗,采用合金鋼材質,精密鍛造而成,堅固耐用
*采用了拉伸方向為自由自在的雙鉤環,便于搬運不整形重物。
*附帶彈簧檔圈,附帶球面夾頭可做全向起吊用。
*附帶球面夾頭,夾緊力隨被吊重物增加而增加
*附帶自動夾緊裝置(注意:載荷反復施加于夾鉗上時,或者重新開始工作時,請重新擰緊夾緊螺栓)

SBB鷹牌EAGLE CLAMP螺旋鎖緊鋼板吊鉗實物細節:



SBB鷹牌EAGLE CLAMP螺旋鎖緊鋼板吊鉗適用范圍:
造船鋼板,形鋼,T形鋼,H鋼,C形鋼,鋼板,L形鋼的吊裝、搬運、翻轉、沖壓、焊接裝配、吊起、彎曲、加工、倒立、旋轉、升降等。
SBB鷹牌EAGLE CLAMP螺旋鎖緊鋼板吊鉗用途:
抬高、搬運、懸掛、固定、反轉、旋轉、焊接、組裝、搭載、沖壓加工、彎曲加工等

鷹牌鋼板吊鉗更多選型(橫吊、豎吊、無傷、水平等):鷹牌EAGLE CLAMP鋼板起重鉗